內螺紋兩片式球閥圖紙,內螺紋兩片式球閥結構圖介紹,究竟兩片式球閥是怎么設計的?很多人一定想知道吧,今天,小編就將內螺紋球閥的結構圖和大家做個詳細介紹,希望可以幫助大家更好的了解兩片式球閥。

兩片式球閥圖紙

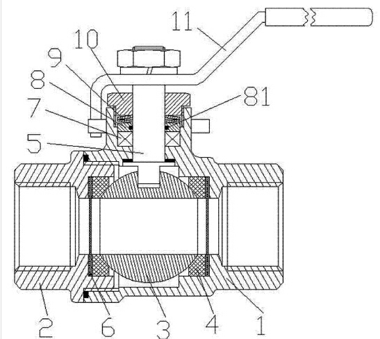
內螺紋兩片式球閥結構圖

內螺紋兩片式球閥結構圖
推薦閱讀:外螺紋兩片式球閥結構圖
溫州市韓鋼閥門有限公司(原溫州龍灣東特閥門廠)
址址:浙江省溫州市龍灣永興工業區
電話:+86-577-86929779
傳真:+86-577-86923779
手機:18957738133
E-mail:hangangvalve@163.com
網址:www.talyjs.com

掃一掃微官網

加微信好友

加微信好友
Copyright © 2020 溫州市韓鋼閥門有限公司 All Rights Reserved. 技術支持:溫州網絡公司 浙ICP備13025146號-1 網站地圖 XML